Will1991

Moderator
Messages
1,630
Reactions
3,326
Wow.... If I'm not mistaken, Toyota is preparing to launch a 4 cylinder turbo engine with water injection!

1-FYb-ODiv1gg-Zjslb-b-M-cq-Pdii-If-NK2u-Fl-CUw-Rwz07hak-HIx9cv7-MBTc-IPMFcupmhx-Zxz-S-h1-Dd-SQdo-HLh.png


image.png


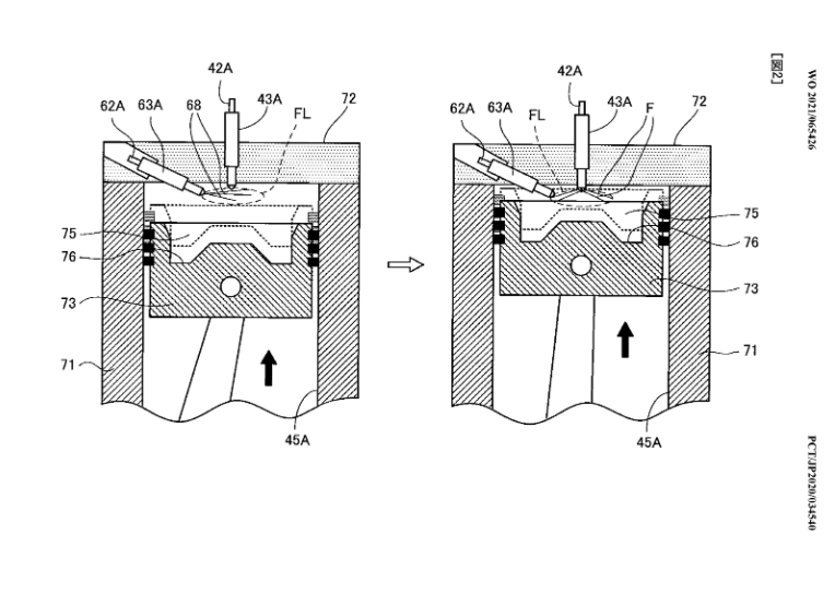
43A - Fuel Injection
63A - Water Injection


image.png


And a new fuel injector!

Is this the rumored 2.4T, new GR engine or just a patent to safeguard R&D?
 

larryren

Follower
Messages
124
Reactions
227
Greeting! Here some old news from China~
GTE's WeChat Official Account has been announced ushered in the official mass production of TNGA 2.5L engine last week. The first engine it showed at ceremony as a 2.5HV (local-production code A25D-FXS), The plant leader sign they's name on intake manifold for memorial.
GTE is also the world's first overseas plant to have a full line of TNGA models in addition to Toyota's local Kamigo Plant. Six production line for producting 1.5L M15C, 2.0L M20C(gas only)/M20F(for 2.0 hybrid system) and A25C(gas only)/A25D(for 2.5L hybrid system).

mmexport1618402732517.jpg


Screenshot_20210414_201212_com.tencent.mm.jpg
 
Last edited:

carguy420

Admirer
Messages
973
Reactions
1,310
Greeting! Here some old news from China~
GTE's WeChat Official Account has been announced ushered in the official mass production of TNGA 2.5L engine last week. The first engine it showed at ceremony as a 2.5HV (local-production code A25D-FXS), The plant leader sign they's name on intake manifold for memorial.
GTE is also the world's first overseas plant to have a full line of TNGA models in addition to Toyota's local Kamigo Plant. Six production line for producting 1.5L M15C, 2.0L M20C(gas only)/M20F(for 2.0 hybrid system) and A25C(gas only)/A25D(for 2.5L hybrid system).

View attachment 4764


View attachment 4763
Haih don't know until when will Toyota finally release a new generation Vios with that M15A/M15C engine, they keep dragging out the current gen with minor change after minor change, but then again the 3rd gen Japanese and European Yaris(XP130) was in production for 9 FREAKING YEARS before the new 4th gen Yaris came along.

The transition to new generation of platform and powertrains for their B-segment cars seems like quite the clusterf@ck. Heck I think even the current gen Aygo is going to have a much more normal product lifespan before the new gen TNGA version debuts despite being in an even less profitable segment when compared to its B-segment siblings.
 

spwolf

Expert
Messages
3,585
Reactions
3,489
Haih don't know until when will Toyota finally release a new generation Vios with that M15A/M15C engine, they keep dragging out the current gen with minor change after minor change, but then again the 3rd gen Japanese and European Yaris(XP130) was in production for 9 FREAKING YEARS before the new 4th gen Yaris came along.

The transition to new generation of platform and powertrains for their B-segment cars seems like quite the clusterf@ck. Heck I think even the current gen Aygo is going to have a much more normal product lifespan before the new gen TNGA version debuts despite being in an even less profitable segment when compared to its B-segment siblings.

It is just a price thing. New Yaris is very expensive vehicle. There is little chance Vios will be that. Yaris Hybrid is priced in Corolla Hybrid territory, and yes, with smaller engine, less equipment, lesser materials, etc.

Same goes for Aygo, it will still have long product cycle because it is really cheap car, they need more time.
 

ssun30

Expert
Messages
3,910
Reactions
8,714
Also small car sales are dwindling in China so there's no point making a more expensive Vios. For SEA the Vios is still competitive for a few years.
 

spwolf

Expert
Messages
3,585
Reactions
3,489
Also small car sales are dwindling in China so there's no point making a more expensive Vios. For SEA the Vios is still competitive for a few years.

or it will happen what happened in Australia, where Yaris sales went down 50% YoY due to huge increase in price.

In EU it did not happen because people are willing to pay more for premium small car, and will buy more of them, hence Yaris being on podium for the first time ever in EU, despite gigantic price increase of 20%+ for base!
 

carguy420

Admirer
Messages
973
Reactions
1,310
I guess the 3rd gen Vios will probably have a 10 year lifespan?

The new Yaris is selling like hotcakes in Japan too, is the increase in price not that big in Japan or is it because people are willing to pay extra?
 

mediumhot

Admirer
Messages
621
Reactions
753
Does refreshed ES300h count toward those 10 new and improved BEV/PHEV/HEV models they've announced in PR few weeks ago?
 

carguy420

Admirer
Messages
973
Reactions
1,310
A G16E-GTS modified to run on hydrogen.
 

ssun30

Expert
Messages
3,910
Reactions
8,714
ICE burning hydrogen makes no sense. G16E-GTS weighs 109kg and makes 200kW. Burning H2 reduces power by half so the engine would only make 100kW. The extremely high combustion temperature forces a very lean mixture.

Three Mirai FC stacks weigh the same and make 4 times that power while being twice as efficient.
 

Will1991

Moderator
Messages
1,630
Reactions
3,326
Even just one FC, it makes 128kW, certainly more than this thing... More than that would be hard to put in a Yaris due to the needed volume…

I do struggle to understand this need to kill all fossil fuels… I do see and agree with a low/free emissions future for day-to-day mobility, but special products like the LC500, GR Yaris, racing… They aren’t the problem, they’re just a small drop on the ocean, they need to be as efficient as possible but just leave them alone or make it a consumer choice.
 

Sulu

Expert
Messages
1,201
Reactions
1,431
A G16E-GTS modified to run on hydrogen.
I believe that if there is a willingness to conduct specific research and the resources available to make it happen, it should go ahead. And developing a hydrogen engine technology for motorsports is research; motorsports is research.

Yes, hydrogen combustion engines have been run really, really lean (using 2x as much air as theoretically required for complete combustion, thus producing only half the power of a comparably-sized gasoline engine) but this was done to run the engine cool enough that NOx (nitrogen oxides) formation is reduced to near zero. It is when a combustion engine runs at near ideal stoichiometric ratio (14:1 air to gasoline or 34:1 air to hydrogen) that an ICE runs the hottest and NOx is formed from burning nitrogen in the air. Running richer (less air to fuel ratio) or leaner (more air to fuel) than the stoichiometric ideal lowers the temperature of combustion.

A hydrogen combustion engine will run more efficiently (and closer to the comparable gasoline engine) if it is allowed to run closer to stoichiometric. Greater emissions of NOx (like in gasoline engines) will result, though.

But while the science of burning hydrogen in a piston engine may be known, the full engineering of it may not be; that is where research comes in. And, of course, research may bring other benefits, namely into the onboard storage of hydrogen.

If a hydrogen internal combustion engine is deemed commercially viable, it would merely be an interim stopgap, giving engineers more time to refine and perfect the hydrogen fuel cell (and onboard hydrogen storage). Internal combustion engine technologies are well-known and well-understood and producing an ICE to burn hydrogen would be easier and cheaper than truly mass-producing fuel cells.

Hydrogen combustion engines could prove to be a good interim step.
 

ssun30

Expert
Messages
3,910
Reactions
8,714
There is no point investing in an interim technology when a more mature technology that is superior in every way imaginable is already in commercial use. The biggest hurdle to hydrogen is never the prime mover but always generation and storage. No viable R&D will come out of this. There is only one very niche use for hydrogen ICE and that is powering and heating spacecraft with a hydrogen wankel engine which can be very compact and lightweight (and burns pure oxygen and does not worry about NOx). At least Mazda got it right with going Wankel.